1 228 руб.
Инструкция по установке вертикальных жалюзи:
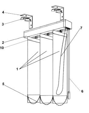
1. Распаковать карниз, раскрутить веревку и цепочку управления.
2. Разметить предполагаемые места крепления кронштейнов.
3. При установке на проем (на стену или на раму) дополнительно приобретаются Г-образные стеновые кронштейны (4), к которым прикручиваются болтом с гайкой потолочные кронштейны. Изделие должно быть установлено таким образом, чтобы в открытом состоянии ламели располагались на расстоянии не менее 2 см от отопительных приборов.

4. Просверлить соответствующие отверстия и при необходимости вставить дюбели.
5. Прикрутить кронштейны саморезами.
6. Вставить карниз в потолочные кронштейны до щелчка, учитывая расположение цепочки (7) и веревки управления (6).
7. Если на нижних грузах ламелей не установлена нижняя цепочка (5), установить ее.
8. Вставить ламели в бегунки или в клипсы (для наклонных). Каждую ламель во время установки рекомендуется слегка потянуть вниз, чтобы убедиться, что она закреплена надежно.
